I am a Pre-Doctoral Researcher at Google DeepMind, where I work with Dr. Dheeraj Nagaraj, Dr. Karthikeyan Shanmugam and, Dr. Prateek Jain. My current research primarily focuses on diffusion models and enhancing the efficiency of large language models.

Before DeepMind, I was a Research Fellow (AI Resident) at Microsoft Research Lab - India with Dr. Manik Varma. My work focused on developing large-scale machine learning models that are parameter-efficient and capable of generalizing to new classes and out-of-distribution data.

Keywords: Generative Modeling, Diffusion Language Models, Large-Scale Machine Learning, Information Retrieval

I graduated with a B.Tech. in Computer Science from Indian Institute of Technology (IIT) Gandhinagar in 2022. For more details about my background, refer to my CV. The best way to contact me is via email.

Updates

Dec 2025

Our patent on Improved Retrieval of Novel Keywords for Search has been granted by the US Patents Office.

Dec 2025

I will be attending the NeurIPS Conference 2025 in San Diego, USA.

Nov 2025

Awarded a Spot Bonus at Google DeepMind for exemplary technical contributions to the Gemini Diffusion.

Aug 2025

Our work on mitigating missing labels in large-scale retrieval systems was presented at SIGKDD 2025 in Toronto, Canada. [Session link]

Jul 2025

Gemini 2.5 technical report is now available. Gemini 2.5 Pro is our most capable model yet, achieving state-of-the-art performance on frontier coding and reasoning benchmarks.

Apr 2025

Attending ICLR 2025 in Singapore to present our work on Gibbs-style generative modeling to produce discrete-continuous data.

Mar 2025

Our work on Gibbs-style generative modeling to produce discrete-continuous data, without assuming factorized denoised distribution is accepted to ICLR DeLTa Workshop 2025.

Nov 2024

Our work on mitigating missing labels in large-scale retrieval systems by leveraging world knowledge from LLMs has been accepted at SIGKDD 2025.

Oct 2024

Joined Google DeepMind in the Machine Learning and Optimization (MLO) Team.

Jul 2024

Presented our recent work on zero-shot retrieval at SIGKDD 2024 in Barcelona, Spain. (Oral Presentation)

Sep 2023

Released the benchmark ORCAS-800K, a dataset mapping user queries on the Bing search engine to the relevant subset of 800K web URLs.

May 2023

Our work addressing the semantic gap and data paucity issues in Siamese encoder training is accepted at SIGKDD 2023.

Jul 2022

Joined Microsoft Research in the Extreme Classification Team.

Jul 2022

Graduated with a bachelor's degree in Computer Science and Engineering from IIT Gandhinagar.

Publications, Patents, Benchmarks and Libraries

Discrete Diffusion Neural Networks

Discrete Diffusion Neural Networks With Planning Provisional Patent (Filed)
Sachin Yadav, Dheeraj Nagaraj, Karthikeyan Shanmugam
US Provisional Patent

Gemini 2.5 Technical Report figure

Gemini 2.5 Technical Report Publication
Gemini Team (including Sachin Yadav), Google DeepMind
arXiv, 2025   PDF

Interleaved Gibbs Diffusion

Interleaved Gibbs Diffusion for Constrained Generation Provisional Patent (Filed)
Dheeraj Nagaraj, Karthikeyan Shanmugam, Sachin Yadav, Gautham Govind Anil, Prateek Jain
US Provisional Patent

Interleaved Gibbs Diffusion figure

Interleaved Gibbs Diffusion for Constrained Generation Publication
Gautham Govind Anil, Sachin Yadav, Dheeraj Nagaraj, Karthikeyan Shanmugam, Prateek Jain
ICLR DeLTa Workshop 2025   Website PDF

Extreme Meta-Classification

On the Necessity of World Knowledge for Mitigating Missing Labels in Extreme Classification Publication
Jatin Prakash, Anirudh Buvanesh, Bishal Santra, Deepak Saini, Sachin Yadav, Jian Jiao, Yashoteja Prabhu, Amit Sharma, Manik Varma
SIGKDD 2025   PDF

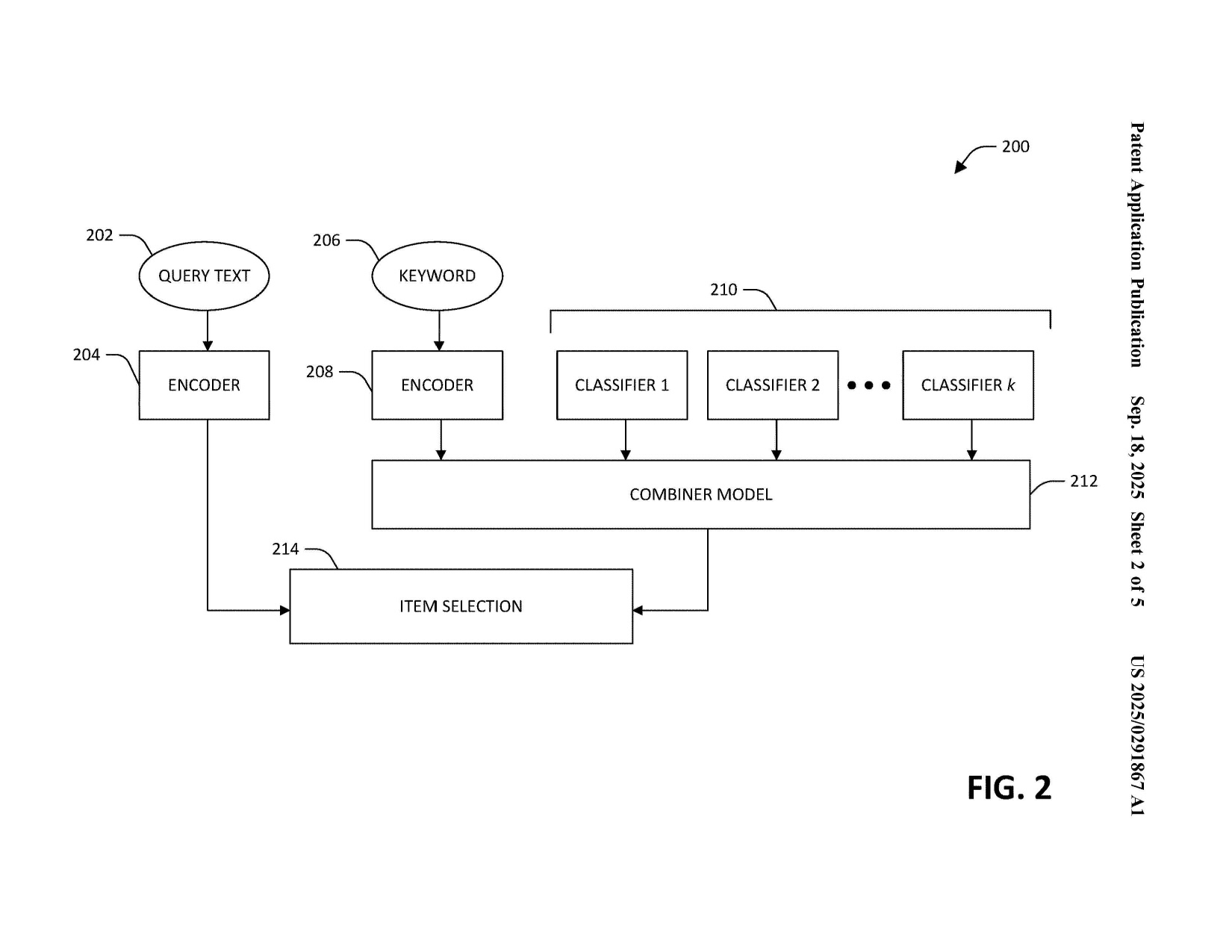
Patent Figure: Retrieval of novel search keywords

Retrieval of novel keywords for search Patent (Granted)
Deepak Saini, Jian Jiao, Sachin Yadav, Bhawna Paliwal, Anirudh Buvanesh, Manik Varma
US Patent 12499168   Page

Extreme Meta-Classification

Extreme Meta-Classification for Large-Scale Zero-Shot Retrieval Publication
Sachin Yadav*, Deepak Saini*, Anirudh Buvanesh*, Bhawna Paliwal, Kunal Dahiya, Siddarth Asokan, Yashoteja Prabhu, Jian Jiao, and Manik Varma
SIGKDD 2024   PDFSlides

ORCAS-800K Benchmark

ORCAS-800K Benchmark
Dataset mapping user queries on the Bing search engine to the relevant subset of 800K web URLs
Sachin Yadav*, Deepak Saini*   Website

Deep Encoders with Auxiliary Parameters

Deep Encoders with Auxiliary Parameters for Extreme Classification Publication
Kunal Dahiya, Sachin Yadav, Sushant Sondhi, Deepak Saini, Sonu Mehta, Jian Jiao, Sumeet Agarwal, Purushottam Kar, and Manik Varma
SIGKDD 2023   Website PDF

TinyGP

tinygp: the tiniest of Gaussian Process libraries Library
Dan Foreman-Mackey, Sachin Yadav, Andrew Fowlie, René Tronsgaard, Steve Schmerler, Thomas Killestein
GitHub

Deep Gaussian Processes

Deep Gaussian Processes for Air Quality Inference: Extended Abstract Publication
Aadesh Desai*, Eshan Gujarathi*, Saagar Parikh*, Sachin Yadav*, Zeel Patel, and Nipun Batra
CODS-COMAD 2023   PDF

Product Impacts

Gemini Diffusion

Gemini 2.5

Microsoft Bing

Present and Past Affiliations

Pre-Doctoral Researcher at Google DeepMind

Research Fellow at Microsoft Research India

Research Intern at Samsung Research

B.Tech. at IIT Gandhinagar

High School at Mount Abu Public School